This concept from LIMIT Inc. prevents toilets from overflowing. A sensor is used to "listen" to the flush cycle. An embedded processor analyzes the flushing sounds and vibrations to determine if the flush cycle is normal or if the water flow is blocked. If a potential overflow condition is detected, the incoming water source is automatically shut off keeping your bathroom dry. The toilet overflow protection device is designed such that it can be installed in a standard toilet by a homeowner without any special tools or skills.
Image source: United States Patent and Trademark Office
Want to learn more about this invention? See the following information from the United States Patent and Trademark Office, www.uspto.gov
Abstract
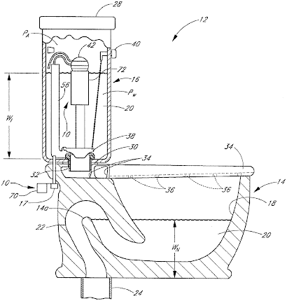
A system for preventing overflow of a toilet includes a sensor, a processor and an actuator. The sensor senses a parameter caused by fluid dynamics within the toilet during a flush cycle. The parameter may involve vibration, sound, pressure, fluid flow rate or other detectible characteristics of the toilet. The processor uses information regarding the parameter that is gathered by the sensor to evaluate the condition of the flush cycle to determine if an impeded flush condition exists. In the event of an impeded flush condition, the processor directs the actuator to close a valve, which may be the toilet flapper valve in some embodiments. Also disclosed are methods for preventing toilet overflow, detecting an impeded flush condition and calibrating the system.
Toilet overflow prevention system and method
Inventor: Kevin Bowcutt, Ahmed Shishegar, Matthew Ibarra, Daniel Corbin, Dennis Repp, Robert M. Connell, Oscar Dufau, Gregory Blake, Sam Iravantchi
Current Assignee: LIMIT Inc.
Filed: Apr. 6 , 2022
